党中央有关部门,国务院各部委、各直属机构,总后勤部,武警各部队,全国人大常委会办公厅,全国政协办公厅,高法院,高检院,各民主党派中央,有关人民团体,新疆生产建设兵团,有关中央管理企业:
为了全面推进预算绩效管理工作,进一步规范中央部门预算绩效目标管理,提高财政资金使用效益,根据《中华人民共和国预算法》、《国务院关于深化预算管理制度改革的决定》(国发〔2014〕45号)等有关规定,我们制定了《中央部门预算绩效目标管理办法》。现予印发,请遵照执行。
财政部
2015年5月21日
第一章总则
第一条为了进一步加强预算绩效管理,提高中央部门预算绩效目标管理的科学性、规范性和有效性,根据《中华人民共和国预算法》、《国务院关于深化预算管理制度改革的决定》(国发〔2014〕45号)等有关规定,制定本办法。
第二条绩效目标是指财政预算资金计划在一定期限内达到的产出和效果。
绩效目标是建设项目库、编制部门预算、实施绩效监控、开展绩效评价等的重要基础和依据。
第三条本办法所称绩效目标:
(一)按照预算支出的范围和内容划分,包括基本支出绩效目标、项目支出绩效目标和部门(单位)整体支出绩效目标。
基本支出绩效目标,是指中央部门预算中安排的基本支出在一定期限内对本部门(单位)正常运转的预期保障程度。一般不单独设定,而是纳入部门(单位)整体支出绩效目标统筹考虑。
项目支出绩效目标是指中央部门依据部门职责和事业发展要求,设立并通过预算安排的项目支出在一定期限内预期达到的产出和效果。
部门(单位)整体支出绩效目标是指中央部门及其所属单位按照确定的职责,利用全部部门预算资金在一定期限内预期达到的总体产出和效果。
(二)按照时效性划分,包括中长期绩效目标和年度绩效目标。
中长期绩效目标是指中央部门预算资金在跨度多年的计划期内预期达到的产出和效果。年度绩效目标是指中央部门预算资金在一个预算年度内预期达到的产出和效果。
第四条绩效目标管理是指财政部和中央部门及其所属单位以绩效目标为对象,以绩效目标的设定、审核、批复等为主要内容所开展的预算管理活动。
第五条财政部和中央部门及其所属单位是绩效目标管理的主体。
第六条绩效目标管理的对象是纳入中央部门预算管理的全部资金。
第二章绩效目标的设定
第七条绩效目标设定是指中央部门或其所属单位按照部门预算管理和绩效目标管理的要求,编制绩效目标并向财政部或中央部门报送绩效目标的过程。
绩效目标是部门预算安排的重要依据。未按要求设定绩效目标的项目支出,不得纳入项目库管理,也不得申请部门预算资金。
第八条按照“谁申请资金,谁设定目标”的原则,绩效目标由中央部门及其所属单位设定。
项目支出绩效目标,在该项目纳入中央部门项目库之前编制,并按要求随同中央部门项目库提交财政部;部门(单位)整体支出绩效目标,在申报部门预算时编制,并按要求提交财政部。
第九条绩效目标要能清晰反映预算资金的预期产出和效果,并以相应的绩效指标予以细化、量化描述。主要包括:
(一)预期产出,是指预算资金在一定期限内预期提供的公共产品和服务情况;
(二)预期效果,是指上述产出可能对经济、社会、环境等带来的影响情况,以及服务对象或项目受益人对该项产出和影响的满意程度等。
第十条绩效指标是绩效目标的细化和量化描述,主要包括产出指标、效益指标和满意度指标等。
(一)产出指标是对预期产出的描述,包括数量指标、质量指标、时效指标、成本指标等。
(二)效益指标是对预期效果的描述,包括经济效益指标、社会效益指标、生态效益指标、可持续影响指标等。
(三)满意度指标是反映服务对象或项目受益人的认可程度的指标。
第十一条绩效标准是设定绩效指标时所依据或参考的标准。一般包括:
(一)历史标准,是指同类指标的历史数据等;
(二)行业标准,是指国家公布的行业指标数据等;
(三)计划标准,是指预先制定的目标、计划、预算、定额等数据;
(四)财政部认可的其他标准。
第十二条绩效目标设定的依据包括:
(一)国家相关法律、法规和规章制度,国民经济和社会发展规划;
(二)部门职能、中长期发展规划、年度工作计划或项目规划;
(三)中央部门中期财政规划;
(四)财政部中期和年度预算管理要求;
(五)相关历史数据、行业标准、计划标准等;
(六)符合财政部要求的其他依据。
第十三条设定的绩效目标应当符合以下要求:
(一)指向明确。绩效目标要符合国民经济和社会发展规划、部门职能及事业发展规划等要求,并与相应的预算支出内容、范围、方向、效果等紧密相关。
(二)细化量化。绩效目标应当从数量、质量、成本、时效以及经济效益、社会效益、生态效益、可持续影响、满意度等方面进行细化,尽量进行定量表述。不能以量化形式表述的,可采用定性表述,但应具有可衡量性。
(三)合理可行。设定绩效目标时要经过调查研究和科学论证,符合客观实际,能够在一定期限内如期实现。
(四)相应匹配。绩效目标要与计划期内的任务数或计划数相对应,与预算确定的投资额或资金量相匹配。
第十四条绩效目标申报表是所设定绩效目标的表现形式。其中,项目支出绩效目标涉及内容的相关信息,纳入项目文本中,通过提取信息的方式以确定格式(详见附1)生成;部门(单位)整体支出绩效目标,按照确定格式和内容(详见附2)填报,纳入部门预算编报说明中。
第十五条绩效目标设定的方法包括:
(一)项目支出绩效目标的设定。
1.对项目的功能进行梳理,包括资金性质、预期投入、支出范围、实施内容、工作任务、受益对象等,明确项目的功能特性。
2.依据项目的功能特性,预计项目实施在一定时期内所要达到的总体产出和效果,确定项目所要实现的总体目标,并以定量和定性相结合的方式进行表述。
3.对项目支出总体目标进行细化分解,从中概括、提炼出最能反映总体目标预期实现程度的关键性指标,并将其确定为相应的绩效指标。
4.通过收集相关基准数据,确定绩效标准,并结合项目预期进展、预计投入等情况,确定绩效指标的具体数值。
(二)部门(单位)整体支出绩效目标的设定。
1.对部门(单位)的职能进行梳理,确定部门(单位)的各项具体工作职责。
2.结合部门(单位)中长期规划和年度工作计划,明确年度主要工作任务,预计部门(单位)在本年度内履职所要达到的总体产出和效果,将其确定为部门(单位)总体目标,并以定量和定性相结合的方式进行表述。
3.依据部门(单位)总体目标,结合部门(单位)的各项具体工作职责和工作任务,确定每项工作任务预计要达到的产出和效果,从中概括、提炼出最能反映工作任务预期实现程度的关键性指标,并将其确定为相应的绩效指标。
4.通过收集相关基准数据,确定绩效标准,并结合年度预算安排等情况,确定绩效指标的具体数值。
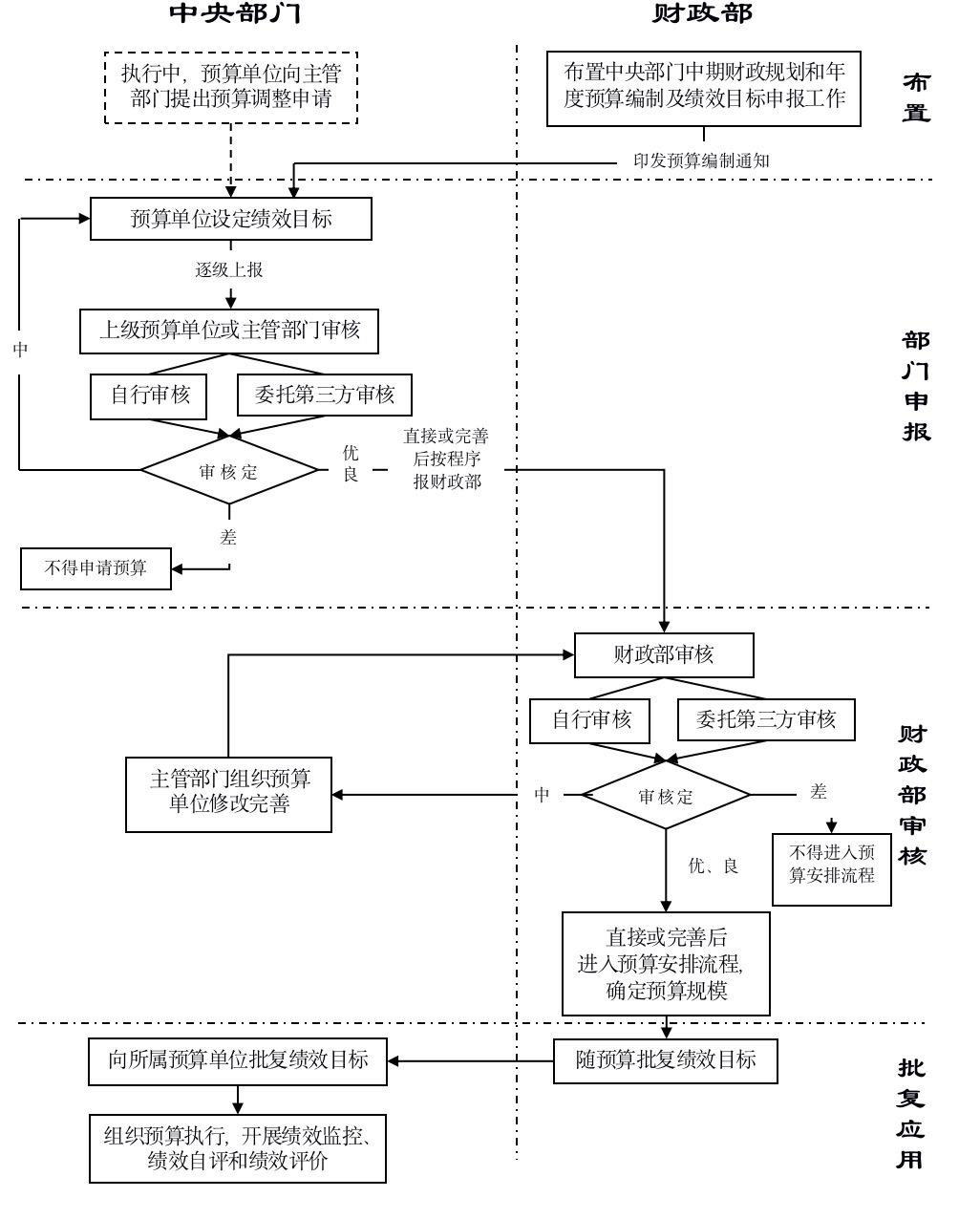
第十六条绩效目标设定程序为:
(一)基层单位设定绩效目标。申请预算资金的基层单位按照要求设定绩效目标,随同本单位预算提交上级单位;根据上级单位审核意见,对绩效目标进行修改完善,按程序逐级上报。
(二)中央部门设定绩效目标。中央部门按要求设定本级支出绩效目标,审核、汇总所属单位绩效目标,提交财政部;根据财政部审核意见对绩效目标进行修改完善,按程序提交财政部。
第三章绩效目标的审核
第十七条绩效目标审核是指财政部或中央部门对相关部门或单位报送的绩效目标进行审查核实,并将审核意见反馈相关单位,指导其修改完善绩效目标的过程。
第十八条按照“谁分配资金,谁审核目标”的原则,绩效目标由财政部或中央部门按照预算管理级次进行审核。根据工作需要,绩效目标可委托第三方予以审核。
第十九条绩效目标审核是部门预算审核的有机组成部分。绩效目标不符合要求的,财政部或中央部门应要求报送单位及时修改、完善。审核符合要求后,方可进入项目库,并进入下一步预算编审流程。
第二十条中央部门对所属单位报送的项目支出绩效目标和单位整体支出绩效目标进行审核。
有预算分配权的部门应对预算部门提交的有关项目支出绩效目标进行审核,并据此提出资金分配建议。经审核的项目支出绩效目标,报财政部备案。
第二十一条 财政部根据部门预算审核的范围和内容,对中央部门报送的项目支出绩效目标和部门(单位)整体支出绩效目标进行审核。对经有预算分配权的部门审核后的横向分配项目的绩效目标,财政部可根据需要进行再审核。
第二十二条 绩效目标审核的主要内容:
(一)完整性审核。绩效目标的内容是否完整,绩效目标是否明确、清晰。
(二)相关性审核。绩效目标的设定与部门职能、事业发展规划是否相关,是否对申报的绩效目标设定了相关联的绩效指标,绩效指标是否细化、量化。
(三)适当性审核。资金规模与绩效目标之间是否匹配,在既定资金规模下,绩效目标是否过高或过低;或者要完成既定绩效目标,资金规模是否过大或过小。
(四)可行性审核。绩效目标是否经过充分论证和合理测算;所采取的措施是否切实可行,并能确保绩效目标如期实现。综合考虑成本效益,是否有必要安排财政资金。
第二十三条对一般性项目,由财政部或中央部门结合部门预算管理流程进行审核,提出审核意见。
对社会关注程度高、对经济社会发展具有重要影响、关系重大民生领域或专业技术复杂的重点项目,财政部或中央部门可根据需要将其委托给第三方,组织相关部门、专家学者、科研院所、中介机构、社会公众代表等共同参与审核,提出审核意见。
第二十四条对项目支出绩效目标的审核,采用“项目支出绩效目标审核表”(详见附3)。其中,对一般性项目,采取定性审核的方式;对重点项目,采取定性审核和定量审核相结合的方式。
部门(单位)整体支出绩效目标的审核,可参考项目支出绩效目标的审核工具,提出审核意见。
第二十五条项目支出绩效目标审核结果分为“优”、“良”、“中”、“差”四个等级,作为项目预算安排的重要参考因素。
审核结果为“优”的,直接进入下一步预算安排流程;审核结果为“良”的,可与相关部门或单位进行协商,直接对其绩效目标进行完善后,进入下一步预算安排流程;审核结果为“中”的,由相关部门或单位对其绩效目标进行修改完善,按程序重新报送审核;审核结果为“差”的,不得进入下一步预算安排流程。
第二十六条绩效目标审核程序如下:
(一)中央部门及其所属单位审核。中央部门及其所属单位对下级单位报送的绩效目标进行审核,提出审核意见并反馈给下级单位。下级单位根据审核意见对相关绩效目标进行修改完善,重新提交上级单位审核,审核通过后按程序报送财政部。
(二)财政部审核。财政部对中央部门报送的绩效目标进行审核,提出审核意见并反馈给中央部门。中央部门根据财政部审核意见对相关绩效目标进行修改完善,重新报送财政部审核。财政部根据绩效目标审核情况提出预算安排意见,随预算资金一并下达中央部门。
第四章绩效目标的批复、调整与应用
第二十七条按照“谁批复预算,谁批复目标”的原则,财政部和中央部门在批复年初部门预算或调整预算时,一并批复绩效目标。原则上,中央部门整体支出绩效目标、纳入绩效评价范围的项目支出绩效目标和一级项目绩效目标,由财政部批复;中央部门所属单位整体支出绩效目标和二级项目绩效目标,由中央部门或所属单位按预算管理级次批复。
第二十八条绩效目标确定后,一般不予调整。预算执行中因特殊原因确需调整的,应按照绩效目标管理要求和预算调整流程报批。
第二十九条中央部门及所属单位应按照批复的绩效目标组织预算执行,并根据设定的绩效目标开展绩效监控、绩效自评和绩效评价。
(一)绩效监控。预算执行中,中央部门及所属单位应对资金运行状况和绩效目标预期实现程度开展绩效监控,及时发现并纠正绩效运行中存在的问题,力保绩效目标如期实现。
(二)绩效自评。预算执行结束后,资金使用单位应对照确定的绩效目标开展绩效自评,分别填写“项目支出绩效自评表” (详见附4)和“部门(单位)整体支出绩效自评表”(详见附5),形成相应的自评结果,作为部门(单位)预、决算的组成内容和以后年度预算申请、安排的重要基础。
(三)绩效评价。财政部或中央部门要有针对地选择部分重点项目或部门(单位),在资金使用单位绩效自评的基础上,开展项目支出或部门(单位)整体支出绩效评价,并对部分重大专项资金或财政政策开展中期绩效评价试点,形成相应的评价结果。
第三十条中央部门应按照有关法律、法规要求,逐步将有关绩效目标随同部门预算予以公开。
第五章附则
第三十一条各部门可根据本办法,结合实际制定本部门具体绩效目标管理办法和实施细则,报财政部备案。
第三十二条此前关于中央部门预算绩效目标管理的规定与本办法不一致的,适用本办法。
第三十三条本办法由财政部负责解释。
第三十四条本办法自印发之日起施行。
附1-1:项目支出绩效目标申报表(生成表)
附1-2:项目支出绩效目标申报表内容说明
附2-1:部门(单位)整体支出绩效目标申报表
附2-2:部门(单位)整体支出绩效目标申报表填报说明
附3-1:项目支出绩效目标审核表(一般性项目)
附3-2:项目支出绩效目标审核表(重点项目)
附3-3:项目支出绩效目标审核表填报说明
附4:项目支出绩效自评表
附5:部门(单位)整体支出绩效自评表
附6:中央部门预算绩效目标管理流程图
附1-1:
项目支出绩效目标申报表(生成表)
( 年度)
|
项目名称 |
|
|||||||||
|
主管部门及代码 |
|
实施单位 |
|
|||||||
|
项目属性 |
|
项目期 |
|
|||||||
|
项目资金 (万元) |
中期资金总额: |
|
年度资金总额: |
|
||||||
|
其中:财政拨款 |
|
其中:财政拨款 |
|
|||||||
|
其他资金 |
|
其他资金 |
|
|||||||
|
总 体 目 标 |
中期目标(20××年—20×× n年) |
年度目标 |
||||||||
|
目标1: 目标2: 目标3: …… |
目标1: 目标2: 目标3: …… |
|||||||||
|
绩 效 指 标 |
一级指标 |
二级指标 |
三级指标 |
指标值 |
二级指标 |
三级指标 |
指标值 |
|||
|
产 出 指 标 |
数量指标 |
指标1: |
|
数量指标 |
指标1: |
|
||||
|
指标2: |
|
指标2: |
|
|||||||
|
…… |
|
…… |
|
|||||||
|
质量指标 |
指标1: |
|
质量指标 |
指标1: |
|
|||||
|
指标2: |
|
指标2: |
|
|||||||
|
…… |
|
…… |
|
|||||||
|
时效指标 |
指标1: |
|
时效指标 |
指标1: |
|
|||||
|
指标2: |
|
指标2: |
|
|||||||
|
…… |
|
…… |
|
|||||||
|
成本指标 |
指标1: |
|
成本指标 |
指标1: |
|
|||||
|
指标2: |
|
指标2: |
|
|||||||
|
…… |
|
…… |
|
|||||||
|
…… |
|
|
…… |
|
|
|||||
|
效 益 指 标 |
经济效益 指标 |
指标1: |
|
经济效益 指标 |
指标1: |
|
||||
|
指标2: |
|
指标2: |
|
|||||||
|
…… |
|
…… |
|
|||||||
|
社会效益 指标 |
指标1: |
|
社会效益 指标 |
指标1: |
|
|||||
|
指标2: |
|
指标2: |
|
|||||||
|
…… |
|
…… |
|
|||||||
|
生态效益 指标 |
指标1: |
|
生态效益 指标 |
指标1: |
|
|||||
|
指标2: |
|
指标2: |
|
|||||||
|
…… |
|
…… |
|
|||||||
|
可持续影响 指标 |
指标1: |
|
可持续影响 指标 |
指标1: |
|
|||||
|
指标2: |
|
指标2: |
|
|||||||
|
…… |
|
…… |
|
|||||||
|
…… |
|
|
…… |
|
|
|||||
|
满意度指标 |
服务对象 满意度指标 |
指标1: |
|
服务对象 满意度指标 |
指标1: |
|
||||
|
指标2: |
|
指标2: |
|
|||||||
|
…… |
|
…… |
|
|||||||
附1-2:
项目支出绩效目标申报表内容说明
一、适用范围
(一)本表根据中央部门及其所属单位所填报的项目文本中的相关信息,由预算管理系统自动生成,作为项目绩效目标审核和批复、预算资金确定、绩效监控、绩效评价的主要依据。
(二)项目支出是指中央部门为完成其特定的行政工作任务或事业发展目标、纳入部门预算编制范围的年度项目支出计划。
(三)中央部门的所有预算项目都应设定绩效目标,并形成本表。
(四)本表中的相关内容由项目资金申报单位在项目申报文本中填写。
二、内容说明
(一)年度:指编制部门预算所属年份。如:编报20××年部门预算时,填写“20××年”;20××年预算执行中申请调整预算时,填写“20××年”。
(二)项目基本情况
1.项目名称:指项目的具体名称,与部门预算中的项目名称一致。
2.主管部门及代码:指中央部门的代码及全称。如:〔101〕 国务院办公厅。
3.实施单位:指项目具体实施单位,与项目文本中的有关内容一致。
4.项目属性:指新增项目或延续项目。
5.项目期:指项目的具体实施期限,其中,一次性项目,填1年;有确定项目实施期的项目,填确定的年限,如3年等;属于部门经常性业务项目,填“长期”。
6.项目资金:指中期或年度项目资金总额,按资金来源分为财政拨款、其他资金。本项内容以万元为单位,保留小数点后两位。
(三)总体目标
项目支出总体目标描述利用该项目全部预算资金在一定期限内预期达到的总体产出和效果。
1.中期目标:概括描述延续项目在一定时期内(一般为三年)预期达到的产出和效果。其中,所填写的期限,按一定时期滚动填写,如2015年编制2016年预算,填写2016-2018年;2016年编制2017年预算,填写2017-2019年等。
一次性项目和处于项目期最后一年的项目,不需填写此项,只填写年度目标。
2.年度目标:概括描述项目在本年度内预期达到的产出和效果。
(四)绩效指标
绩效指标按中期指标和年度指标分别填列,其中,中期指标是对中期目标的细化和量化,年度指标是对年度目标的细化和量化。一次性项目和处于项目期最后一年的项目,只填写年度指标。
绩效指标一般包括产出指标、效益指标、满意度指标三类一级指标,每一类一级指标细分为若干二级指标、三级指标,分别设定具体的指标值。指标值应尽量细化、量化,可量化的用数值描述,不可量化的以定性描述。
1.产出指标:反映根据既定目标,相关预算资金预期提供的公共产品和服务情况。可进一步细分为:
(1)数量指标,反映预期提供的公共产品和服务数量,如“举办培训的班次”、“培训学员的人次”、“新增设备数量”等;
(2)质量指标,反映预期提供的公共产品和服务达到的标准、水平和效果,如“培训合格率”、“研究成果验收通过率”等;
(3)时效指标,反映预期提供公共产品和服务的及时程度和效率情况,如“培训完成时间”、“研究成果发布时间”等;
(4)成本指标,反映预期提供公共产品和服务所需成本的控制情况,如“人均培训成本”、“设备购置成本”、“和社会平均成本的比较”等。
2.效益指标:反映与既定绩效目标相关的、前述相关产出所带来的预期效果的实现程度。可进一步细分为:
(1)经济效益指标,反映相关产出对经济发展带来的影响和效果,如“促进农民增收率或增收额”、“采用先进技术带来的实际收入增长率”等;
(2)社会效益指标,反映相关产出对社会发展带来的影响和效果,如“带动就业增长率”、“安全生产事故下降率”等;
(3)生态效益指标,反映相关产出对自然环境带来的影响和效果,如“水电能源节约率”、“空气质量优良率”等;
(4)可持续影响指标,反映相关产出带来影响的可持续期限,如“项目持续发挥作用的期限”、“对本行业未来可持续发展的影响”等。
3.满意度指标:属于预期效果的内容,反映服务对象或项目受益人对相关产出及其影响的认可程度,根据实际细化为具体指标,如“受训学员满意度”、“群众对××工作的满意度”、“社会公众投诉率/投诉次数”等。
4.实际操作中其他绩效指标的具体内容,可由部门(单位)根据需要,在上述指标中或在上述指标之外另行补充。
附2-1:
部门(单位)整体支出绩效目标申报表
( 年度)
|
部门(单位)名称 |
|
|||||||
|
年度 主要 任务 |
任务名称 |
主要内容 |
预算金额(万元) |
|||||
|
总额 |
财政拨款 |
其他资金 |
||||||
|
任务1 |
|
|
|
|
||||
|
任务2 |
|
|
|
|
||||
|
…… |
|
|
|
|
||||
|
金额合计 |
|
|
|
|||||
|
年度 总体 目标 |
目标1: 目标2: …… |
|||||||
|
年 度 绩 效 指 标 |
一级指标 |
二级指标 |
三级指标 |
指标值 |
||||
|
产出指标 |
数量指标 |
指标1: |
|
|||||
|
指标2: |
|
|||||||
|
…… |
|
|||||||
|
质量指标 |
指标1: |
|
||||||
|
指标2: |
|
|||||||
|
…… |
|
|
||||||
|
时效指标 |
指标1: |
|
||||||
|
指标2: |
|
|||||||
|
…… |
|
|
||||||
|
成本指标 |
指标1: |
|
|
|||||
|
指标2: |
|
|||||||
|
…… |
|
|||||||
|
…… |
|
|
||||||
|
效益指标 |
经济效益 指标 |
指标1: |
|
|||||
|
指标2: |
|
|||||||
|
…… |
|
|
||||||
|
社会效益 指标 |
指标1: |
|
||||||
|
指标2: |
|
|||||||
|
…… |
|
|
||||||
|
生态效益 指标 |
指标1: |
|
||||||
|
指标2: |
|
|||||||
|
…… |
|
|
||||||
|
可持续影响 指标 |
指标1: |
|
||||||
|
指标2: |
|
|||||||
|
…… |
|
|
||||||
|
…… |
|
|
||||||
|
满意度 指标 |
服务对象 满意度指标 |
指标1: |
|
|||||
|
指标2: |
|
|||||||
|
…… |
|
|
||||||
附2-2:
部门(单位)整体支出绩效目标申报表填报说明
一、适用范围
(一)本表适用于中央部门及其所属单位在申报部门(单位)整体支出绩效目标时填报,作为部门(单位)整体支出预算审核及绩效评价的主要依据。
(二)部门(单位)整体支出是指纳入中央部门预算管理的全部资金,包括当年财政拨款和通过以前年度财政拨款结转和结余资金、事业收入、事业单位经营收入等其他收入安排的支出;包括基本支出和项目支出。
(三)中央部门及其所属单位应按要求设定整体支出绩效目标,填报本表。
(四)本表由中央部门或所属单位财务主管机构负责填写,必要时可以由本部门或本单位业务部门协助填写。
二、填报说明
(一)年度:填写编制部门预算所属年份。如:编报20××年部门预算,填写“20××年”。
(二)部门(单位)名称:填写填报本表的预算部门或单位全称。
(三)年度主要任务:填写根据部门(单位)主要职责和工作计划确定的本年度主要工作任务以及开展这项任务所对应的预算支出金额(一般为一级项目及金额)。预算支出金额包括当年财政拨款和其他资金,以万元为单位,保留到小数点后两位。
(四)年度总体目标:描述本部门(单位)利用全部部门预算资金在本年度内预期达到的总体产出和效果。
(五)年度绩效指标:一般包括产出指标、效益指标、满意度指标三类一级指标,每一类一级指标细分为若干二级指标、三级指标,分别对应具体的指标值。指标值应尽量细化、量化,可量化的用数值描述,不可量化的以定性描述。具体填报要求可参照“项目支出绩效目标申报表内容说明”。
附3-1:
项目支出绩效目标审核表(一般性项目)
|
审核内容 |
审核要点 |
审核意见 |
|
一、完整性审核 |
||
|
规范完整性 |
绩效目标填报格式是否规范,内容是否完整、准确、详实,是否无缺项、错项 |
优 良 中 差 |
|
明确清晰性 |
绩效目标是否明确、清晰,是否能够反映项目主要情况,是否对项目预期产出和效果进行了充分、恰当的描述 |
优 良 中 差 |
|
二、相关性审核 |
||
|
目标相关性 |
总体目标是否符合国家法律法规、国民经济和社会发展规划要求,与本部门(单位)职能、发展规划和工作计划是否密切相关 |
优 良 中 差 |
|
指标科学性 |
绩效指标是否全面、充分、细化、量化,难以量化的,定性描述是否充分、具体;是否选取了最能体现总体目标实现程度的关键指标并明确了具体指标值 |
优 良 中 差 |
|
三、适当性审核 |
||
|
绩效合理性 |
预期绩效是否显著,是否能够体现实际产出和效果的明显改善;是否符合行业正常水平或事业发展规律;与其他同类项目相比,预期绩效是否合理 |
优 良 中 差 |
|
资金匹配性 |
绩效目标与项目资金量、使用方向等是否匹配,在既定资金规模下,绩效目标是否过高或过低;或要完成既定绩效目标,资金规模是否过大或过小 |
优 良 中 差 |
|
四、可行性审核 |
||
|
实现可能性 |
绩效目标是否经过充分调查研究、论证和合理测算,实现的可能性是否充分 |
优 良 中 差 |
|
条件充分性 |
项目实施方案是否合理,项目实施单位的组织实施能力和条件是否充分,内部控制是否规范,管理制度是否健全 |
优 良 中 差 |
|
综合评定等级 |
优 良 中 差 |
|
|
总体意见 |
|
|
附3-2:
项目支出绩效目标审核表(重点项目)
|
审核内容 |
审核要点 |
审核意见 |
得分 |
||
|
具体 内容 |
分值 |
具体内容 |
分值 |
||
|
一、完整性审核(20分) |
|
||||
|
规范 完整性 |
10分 |
绩效目标填报格式是否规范、符合规定要求 |
5分 |
优 良 中 差 |
|
|
绩效目标填报内容是否完整、准确、详实,是否无缺项、错项 |
5分 |
优 良 中 差 |
|
||
|
得分小计 |
|
||||
|
明确 清晰性 |
10分 |
绩效目标是否明确,内容是否具体,层次是否分明,表述是否准确 |
5分 |
优 良 中 差 |
|
|
绩效目标是否清晰,是否能够反映项目的主要内容,是否对项目预期产出和效果进行了充分、恰当的描述 |
5分 |
优 良 中 差 |
|
||
|
得分小计 |
|
||||
|
二、相关性审核(30分) |
|
||||
|
目标 相关性 |
15分 |
总体目标是否符合国家法律法规、国民经济和社会发展规划要求 |
7分 |
优 良 中 差 |
|
|
总体目标与本部门(单位)职能、发展规划和工作计划是否密切相关 |
8分 |
优 良 中 差 |
|
||
|
得分小计 |
|
||||
|
指标 科学性 |
15分 |
绩效指标是否全面、充分,是否选取了最能体现总体目标实现程度的关键指标并明确了具体指标值 |
8分 |
优 良 中 差 |
|
|
绩效指标是否细化、量化,便于监控和评价;难以量化的,定性描述是否充分、具体 |
7分 |
优 良 中 差 |
|
||
|
得分小计 |
|
||||
|
三、适当性审核(30分) |
|
||||
|
绩效 合理性 |
15分 |
预期绩效是否显著,是否能够体现实际产出和效果的明显改善 |
8分 |
优 良 中 差 |
|
|
预期绩效是否符合行业正常水平或事业发展规律;与其他同类项目相比,预期绩效是否合理 |
7分 |
优 良 中 差 |
|
||
|
得分小计 |
|
||||
|
资金 匹配性 |
15分 |
绩效目标与项目资金量是否匹配,在既定资金规模下,绩效目标是否过高或过低;或要完成既定绩效目标,资金规模是否过大或过小 |
8分 |
优 良 中 差 |
|
|
绩效目标与相应的支出内容、范围、方向、效果等是否匹配 |
7分 |
优 良 中 差 |
|
||
|
得分小计 |
|
||||
|
四、可行性审核(20分) |
|
||||
|
实现 可能性 |
10分 |
绩效目标是否经过充分调查研究、论证和合理测算 |
5分 |
优 良 中 差 |
|
|
绩效目标实现的可能性是否充分,是否考虑了现实条件和可操作性 |
5分 |
优 良 中 差 |
|
||
|
得分小计 |
|
||||
|
条件 充分性 |
10分 |
项目实施方案是否合理,项目实施单位的组织实施能力和条件是否充分 |
5分 |
优 良 中 差 |
|
|
内部控制是否规范,预算和财务管理制度是否健全并得到有效执行 |
5分 |
优 良 中 差 |
|
||
|
得分小计 |
|
||||
|
总 分 |
|
||||
|
综合评定等级 |
优 良 中 差 |
||||
|
总体意见 |
|
||||
附3-3:
项目支出绩效目标审核表填报说明
一、适用范围
(一)本表适用于财政部或中央部门及其所属单位在审核项目支出绩效目标时填报,是绩效目标审核的主要工具。
(二)本表全面反映审核主体对绩效目标的审核意见。
(三)本表由财政部或中央部门及其所属单位财务主管机构负责填写;委托第三方审核的,可以由第三方机构协助填写。
二、填报说明
(一)审核内容
绩效目标审核包括完整性审核、相关性审核、适当性审核和可行性审核等四个方面。绩效目标审核应充分参考部门(单位)职能、项目立项依据、项目实施的必要性和可行性、项目实施方案以及以前年度绩效信息等内容,还应充分考虑财政资金支持的方向、范围和方式等。
(二)审核方式
审核采取定性审核与定量审核相结合的方式。定性审核分为“优”、“良”、“中”、“差”四个等级,其中,填报内容完全符合要求的,定级为“优”;绝大部分内容符合要求、仅需对个别内容进行修改的,定级为“良”;部分内容不符合要求、但通过修改完善后能够符合要求的,定级为“中”;内容为空或大部分内容不符合要求的,定级为“差”。定量审核按对应等级进行打分,保留一位小数。具体审核方式如下:
1.对一般性项目,采取定性审核的方式。审核主体对每一项审核内容逐一提出定性审核意见,并根据各项审核情况,汇总确定“综合评定等级”。确定综合评定等级时,8个审核要点中,有6项及以上为“优”、且其他项无“中”、“差”级的,方可定级为“优”;有6项及以上为“良”及以上、且其他项无“差”级的,方可定级为“良”;有6项及以上为“中”及以上的,方可定级为“中”。同时,在本表“总体意见”栏中对该项目绩效目标的修改完善、预算安排等提出意见。
2.对重点项目,采取定性审核和定量审核相结合的方式。审核主体对每一项审核内容提出定性审核意见,并进行打分。定性审核为“优”的,得该项分值的90-100%;定性审核为“良”的,得该项分值的80-89%;定性审核为“中”的,得该项分值的60-79%;定性审核为“差”的,得该项分值的59%以下。
各项审核内容完成后,根据项目审核总分,确定“综合评定等级”。总得分在90分以上的为“优”;在80分至90分(不含,下同)之间的为“良”;在60分至80分之间的为“中”;低于60分的为“差”。同时,在本表“总体意见”栏中对该项目绩效目标的修改完善、预算安排等提出意见。
附4:
项目支出绩效自评表
( 年度)
|
项目名称 |
|
|||||||
|
主管部门及代码 |
|
实施单位 |
|
|||||
|
项目预算 执行情况 (万元) |
预算数: |
|
执行数: |
|
||||
|
其中:财政拨款 |
|
其中:财政拨款 |
|
|||||
|
其他资金 |
|
其他资金 |
|
|||||
|
年度总体目标完成情况 |
预期目标 |
目标实际完成情况 |
||||||
|
目标1: 目标2: …… |
目标1完成情况: 目标2完成情况: …… |
|||||||
|
年 度 绩 效 指 标 完 成 情 况 |
一级指标 |
二级指标 |
三级指标 |
预期指标值 |
实际完成指标值 |
|||
|
产 出 指 标 |
数量指标 |
指标1: |
|
|
||||
|
指标2: |
|
|
||||||
|
…… |
|
|
||||||
|
质量指标 |
指标1: |
|
|
|||||
|
指标2: |
|
|
||||||
|
…… |
|
|
||||||
|
时效指标 |
指标1: |
|
|
|||||
|
指标2: |
|
|
||||||
|
…… |
|
|
||||||
|
成本指标 |
指标1: |
|
|
|||||
|
指标2: |
|
|
||||||
|
…… |
|
|
||||||
|
…… |
|
|
|
|||||
|
效 益 指 标 |
经济效益 指标 |
指标1: |
|
|
||||
|
指标2: |
|
|
||||||
|
…… |
|
|
||||||
|
社会效益 指标 |
指标1: |
|
|
|||||
|
指标2: |
|
|
||||||
|
…… |
|
|
||||||
|
生态效益 指标 |
指标1: |
|
|
|||||
|
指标2: |
|
|
||||||
|
…… |
|
|
||||||
|
可持续影响 指标 |
指标1: |
|
|
|||||
|
指标2: |
|
|
||||||
|
…… |
|
|
||||||
|
…… |
|
|
|
|||||
|
满意度 指标 |
服务对象 满意度指标 |
指标1: |
|
|
||||
|
指标2: |
|
|
||||||
|
…… |
|
|
||||||
|
…… |
|
|
|
|||||
附5:
部门(单位)整体支出绩效自评表
( 年度)
|
部门(单位)名称 |
|
|||||||||||
|
年度 主要 任务 完成 情况 |
任务名称 |
完成情况 |
预算数 (万元) |
|
执行数 (万元) |
|
||||||
|
其中:财政拨款 |
其中:财政拨款 |
|||||||||||
|
任务1 |
|
|
|
|
|
|||||||
|
…… |
|
|
|
|
|
|||||||
|
金额合计 |
|
|
|
|
||||||||
|
年度 总体 目标 完成 情况 |
预期目标 |
目标实际完成情况 |
||||||||||
|
目标1: 目标2: 目标3: …… |
目标1完成情况: 目标2完成情况: 目标3完成情况: …… |
|||||||||||
|
年 度 绩 效 指 标 完 成 情 况 |
一级指标 |
二级指标 |
指标内容 |
预期指标值 |
实际完成指标值 |
|||||||
|
产出指标 |
数量指标 |
指标1: |
|
|
||||||||
|
指标2: |
|
|
||||||||||
|
…… |
|
|
||||||||||
|
质量指标 |
指标1: |
|
|
|||||||||
|
指标2: |
|
|
||||||||||
|
…… |
|
|
|
|||||||||
|
时效指标 |
指标1: |
|
|
|||||||||
|
指标2: |
|
|
||||||||||
|
…… |
|
|
|
|||||||||
|
成本指标 |
指标1: |
|
|
|
||||||||
|
指标2: |
|
|
||||||||||
|
…… |
|
|
||||||||||
|
…… |
|
|
|
|||||||||
|
效益指标 |
经济效益 指标 |
指标1: |
|
|
||||||||
|
指标2: |
|
|
||||||||||
|
…… |
|
|
|
|||||||||
|
社会效益 指标 |
指标1: |
|
|
|||||||||
|
指标2: |
|
|
||||||||||
|
…… |
|
|
|
|||||||||
|
生态效益 指标 |
指标1: |
|
|
|||||||||
|
指标2: |
|
|
||||||||||
|
…… |
|
|
|
|||||||||
|
可持续影响 指标 |
指标1: |
|
|
|||||||||
|
指标2: |
|
|
||||||||||
|
…… |
|
|
|
|||||||||
|
…… |
|
|
|
|||||||||
|
满意度 指标 |
服务对象 满意度指标 |
指标1: |
|
|
||||||||
|
指标2: |
|
|
||||||||||
|
…… |
|
|
||||||||||
附6:
中央部门预算绩效目标管理流程图
